Feinkal GmbH - Bad Fallingbostel

Zubehör für Messtaster T

» Messeinsätze mit Anschlussgewinde M2.5
» Befestigungsteile
» Pneumatikanschluss
» Verlängerungskabel

 

Pneumatikanschluss

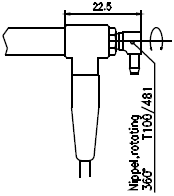
Typ / Beschreibung Zeichnung

T100/481 Drehnippel
360 Grad drehbar

 

» Preisliste [PDF]

T100/481

Vergleichsdarstellung

Standard T100/480
Drehnippel T100/481

 

» Preisliste [PDF]

ergleich T100/480 mit T100/481
Feinkal GmbH - Bad Fallingbostel Impressum | Datenschutz | Kontakt | Sitemap | © 2011 - 2021 Feinkal GmbH | Änderungen und Irrtümer vorbehalten!