Messtaster T151 / T152 - Übersicht
Vollbrücke (LVDT), ±2 mm Messhub
| Typ / Beschreibung | Zeichnung |
|---|---|
|
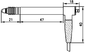
T151F / T152F
» Technische Daten |
![]() ![]() |
|
T151V / T152V
» Technische Daten |
![]() ![]() |
|
T151P / T152P
» Technische Daten |
![]() ![]() |
|
T151L / T152L
» Technische Daten |
![]() ![]() |







